BTFLEX

Balkenträger

Der BT FLEX kann als flexibler Anschluss am Beton frei platziert angedübelt, im Holz werkseitig eingeschlitzt und dann nur eingesetzt werden, mit dem Splint gesichert und schon geht’s weiter mit dem nächsten Anschluss. 
Insbesondere bei unterschiedlichen Winkeln von Holzträger zur Wand ist man mit dieser Lösung flexibel.
 

CE Kennzeichnung
ETA
Nutzungsklasse 2
Galvanisch verzinkter Stahl 8µm

Produkt-Details

Eigenschaften

Material

Stahl:

S235JR  gem. EN10025 

Korrosionsschutz:

galvanisch verzinkt Zinkschichtdicke von ca. 8 μm

Vorteile

  • Tragwerte in ETA-07/0245 geregelt
  • verschiedene Schrägen und Neigungen möglich
  • Anschluss an Beton

Anwendung

Anwendbare Materialien

Auflager:

  • Beton, Stahl

Aufzulagerndes Bauteil:

  • Holz, Holzwerkstoffe

Technische Daten

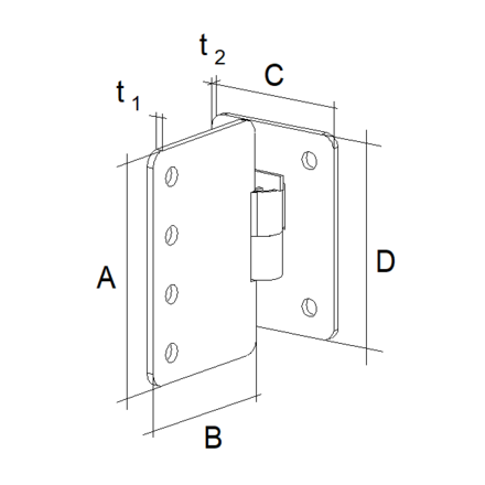
Abmessungen

Abmessungen

Artikel Abmessungen [mm] Löcher im Nebenträger Löcher im Hauptträger
A B C D t1 t2 Ø13 [mm] Ø12 [mm]
BTFLEX-1201201131001405834
BTFLEX-1601601131001405844
BTFLEX-2002001131001405854

Charakteristische Tragfähigkeiten - Holz an Beton

Artikel Nebenträger [mm] Charakteristische Tragfähigkeiten - Holz an Beton
Höhe Verbindungsmittel Charakter. Tragfähigkeiten - Nadelholz C24 [kN]
min Hauptträger Nebenträger R1.k [kN]
Anzahl Bolzen Anzahl Typ Länge Stabdübel [mm]
60 80 100 120 140 160
BTFLEX-1201404Ø103STDØ12xL9.710.411.512.914.415.6
BTFLEX-1601804Ø104STDØ12xL15.816.918.720.823.225.4
BTFLEX-2002204Ø105STDØ12xL22.924.527.130.1min.: 33.5 ; 33.8/kmodmin.: 37.0 ; 33.8/kmod

Der Nachweis des Bolzenanschlusses ist wie folgt zu führen:

Rbolt,lat.d ≥  F1.d  / 4         aufzunehmende Scherkraft je Bolzen
Rbolt.ax.d ≥  F1.d x 0.15    aufzunehmende Zugkraft für beide oberen Bolzen zusammen

Bei geneigten Anschlüssen sind die Tragwerte mit folgenden Faktoren zur multiplizieren:

β15°30°45°
Faktor10,950,90,85

 

Installation

Installation

Befestigung

Zu verwendende Verbindungsmittel :

  • im Holz: Stabdübel mit Ø12 mm, Länge entsprechend Holzbreite
  • im Beton: Ankerbolzen M10 gemäß statischer Erfordernis

Eignungsnachweise

Leistungserklärung (DoP)

Technische Bewertung (ETA)

Downloads

  • Zu sehen ist die erste Seite des Flyers zum Balkenträger BTFLEX von Simpson Strong-Tie. Gezeigt wird unter anderem, wie mit dem Verbinder geneigte und gerade Holzträger auf der Innenseite einer runden Betonwand befestigt werden. Im unteren Bereich der Seite ist eine Tabelle mit den Abmessungen des Produkts, komplett mit korrespondierender Zeichnung.

    BTFLEX Balkenträger

    Wer Holzverbinder an Beton befestigen möchte, hat nicht immer das Glück, rechtwinklig anschließen zu können. Für solche und viele andere Fälle haben wir den BTFLEX entwickelt.

ZIP-Pakete

Buy from Distributor

No items available.

Contact

Simpson Strong-Tie Deutschland

Simpson Strong-Tie GmbH

Hubert-Vergölst-Straße 6-14
61231 Bad Nauheim
Deutschland