CPB

Stützenfüße

Diese Stützenfüße bestehen aus einen Kopfteil mit Spezialgewinde, das eine einfache Montage und hohe Auszugswerte gewährleistet. Der Typ CPB ist zum Aufdübeln und auch nach der Montage höhenverstellbar.
 

CE Kennzeichnung
ETA
Nutzungsklasse 3
In Connector Selector verfügbar

Produkt-Details

Bilder

Eigenschaften

Material

Stahlqualität

S 235 JR gemäß DIN EN 10025

Korrosionsschutz:

nach Bearbeitung rundumfeuerverzinkt; Zinkschichtdicke ca. 55 μm gemäß DIN EN 1461

Vorteile

  • Stützenfüße für Abbundprofis
  • Geeignet für Stützenquerschnitte ab 120x120 mm
  • Hohe Auszugwerte durch Spezialgewinde
  • Auch in eingebautem Zustand höhenverstellbar
  • Optional mit Blendhülse
  • Durch Spezialgewinde schnelleres Eindrehen gegenüber einem Feingewinde
  • Hohe Tragfähigkeit

Anwendung

Anwendbare Materialien

Auflager:

  • Beton, Stahl, Holz

Aufzulagerndes Bauteil:

  • Holz, Holzwerkstoffe

Anwendungsbereich

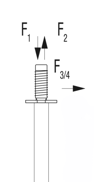
  • Die CPB Stützenfüße sind zur Aufnahme von vertikalen und horizontalen Lasten ausgelegt.
  • Der Anschluss an die Stütze erfolgt in eine Ø 40 mm Bohrung, vorrangig mit Abbundanlagen gebohrt.
  • Bei konventionellem Abbund empfehlen wir unsere Bohrschablone BTBS40.

Technische Daten

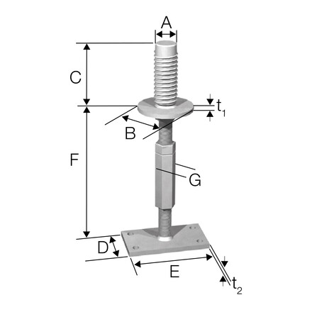
Abmessungen

Abmessungen

Artikel Pfostendimension [mm] Abmessungen [mm] Löcher in der Fußplatte Gewicht [kg]
Breite A B C D E F t1 t2 Ø14
min
CPB401204010512090160190-24081044.1

Tragfähigkeiten

Artikel Charakt. Werte der Tragfähigkeit - Holz C24 [kN]
R1.k R2.k R2.k** R3.k = R4.k
F = 190mm F = 250mm
CPB4061.0/kmod23.713.81.7/kmod1.4/kmod

** Wenn Druck- (F1) und Zug- (F2) kräfte auftreten

b = Holzbreite [mm]

h = Höhe Lastangriff [mm]

Kombinierte Beanspruchung:

 

Installation

Installation

Befestigung

  • Einfache Ø40 mm Bohrung
  • Eindrehen mittels Ringschlüssel mit 36 mm Schlüsselweite
  • Zentrierhilfe und gerader Ansatz durch Ø40 mm-Führung am oberen Ende – dadurch kein schräges Eindrehen

Technische Hinweise

Autres

cpb-beispiel.pdf (89.7 KB)

Eignungsnachweise

Leistungserklärung (DoP)

Technische Bewertung (ETA)

Verwandte Produkte

Downloads

CAD- und BIM-Bibliothek

ZIP-Pakete

Buy from Distributor

No items available.

Contact

Simpson Strong-Tie Deutschland

Simpson Strong-Tie GmbH

Hubert-Vergölst-Straße 6-14
61231 Bad Nauheim
Deutschland