PCNB

Pfostenhalter

Dieser Pfostenhalter ist auch im eingebauten Zustand noch höhenverstellbar.

Nutzungsklasse 3
Feuerverzinkter Stahl

Produkt-Details

Bilder

Eigenschaften

Material

Stahlqualität:

S 235 JR gemäß DIN EN 10025

Korrosionsschutz:

nach Bearbeitung rundumfeuerverzinkt; Zinkschichtdicke ca. 55 μm gemäß DIN EN 1461

Vorteile

  • auch in eingebautem Zustand höhenverstellbar
  • optional mit Blendhülse B54
  • geeignet für Pfostenquerschnitte ab 120x120 mm

Anwendbare Materialien

Auflager:

  • Beton

Aufzulagerndes Bauteil:

  • Holz, Holzwerkstoff

Anwendung

Anwendungsbereich

  • Der Anschluss an die Stütze erfolgt in eine Ø40 mm Bohrung, vorrangig mit Abbundanlagen gebohrt.
  • Bei konventionellem Abbund empfehlen wir unsere Bohrschablone BTBS40.

Technische Daten

Abmessungen

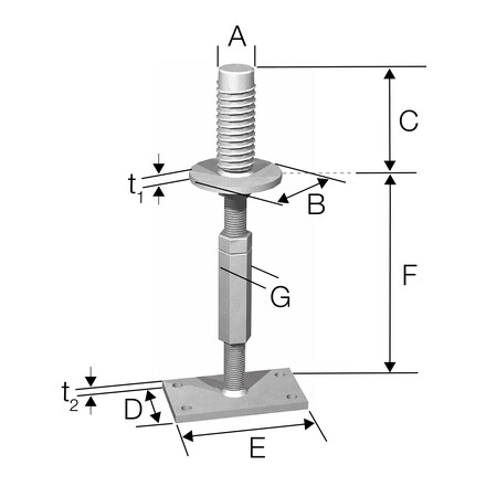
Abmessungen und charakteristische Werte

Artikel Abmessungen und charakteristische Werte [mm] Löcher in der Fußplatte Gewicht [kg]
A Ø B Ø C D E F G Ø t1 t2 Ø12 [mm]
PCNB40G-R4010512090160190-2502481044.3

Installation

Installation

Befestigung

Monatge:

  • Einfache 40 mm Bohrung
  • Eindrehen mittels Gabelschlüssel mit 36 mm Schlüsselweite (PCNB40G-R)
  • Durch Spezialgewinde schnelleres Eindrehen gegenüber einem Feingewinde

Einbau des Pfostenhalters:

  • Bohrung Ø40 mm mit L = 140 mm
  • Evtl. Fräsung Ø110 mm für Versenkung der Auflagerscheibe (im Außenbereich empfohlen mit t = 15 mm)
  • Einschrauben des Pfostenhalters
  • Fertig
     

CAD- und BIM-Bibliothek

2D
3D

PCNB40G-R

ZIP-Pakete

Buy from Distributor

No items available.

Contact

Simpson Strong-Tie Deutschland

Simpson Strong-Tie GmbH

Hubert-Vergölst-Straße 6-14
61231 Bad Nauheim
Deutschland