MAXIMUS
Kragarmverbinder
Mit dem Kragarmverbinder „MAXIMUS“ ist es möglich, auskragende Konstruktionen jeglicher Art ohne störende Streben oder Kopfbänder schnell und effektiv anzuschließen.
CE Kennzeichnung
ETA
Nutzungsklasse 2
EPD
Produkt-Details
Eigenschaften
Material
Stahlqualität:
S 250 GD +Z 275 gemäß DIN EN 10346
Korrosionsschutz:
275 g/m2 beidseitig - entsprechend einer Zinkschichtdicke von ca. 20 μm
Vorteile
- Kann auch für vorübergehende Zwecke schnell eingebaut und wieder demontiert werden.
- Einsatzmöglichkeit bei Vordächern, Treppenauflagern, leicht zugängliche Lagerflächen und temporären Gerüsten.
- Dem Einfallsreichtum des Anwenders, unter Berücksichtigung der jeweiligen Normen sind praktisch keine Grenzen gesetzt.
Anwendung
Anwendbare Materialien
Auflager:
- Holz, Holzwerkstoff
Aufzulagerndes Bauteil:
- Holz, Holzwerkstoff
Anwendungsbereich
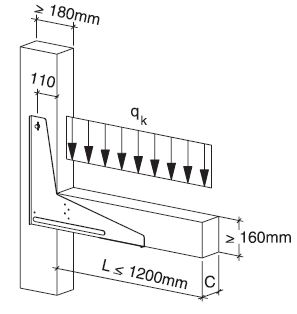
- Der MAXIMUS™ ist ein Verbinder, der zum Anschluss von Kragarmen dient.
- Die Befestigung des Kragarmes erfolgt mit CSA5,0x50 Schrauben, an die Stütze wird der MAXIMUS™ bei der Montage an einen Ø 20 mm Stabdübel gehängt und mit Splinten gesichert.
- Für abhebende Lasten wird der MAXIMUS™ mit zusätzlichen 4 St. CSA5,0x50 Schrauben an der Stütze befestigt.
Technische Daten
Widerstandslasten
| Artikel | Charekteristische Widerstandslasten q R,k bei einer max. Auskragungslänge von L ≤ 1,2 m. [kN/m] | |
|---|---|---|
| Lastrichtung | ||
| abwärts | aufwärts | |
| MAXIMUS120 | 7,02 / kmod | 2,6 / kmod |
| MAXIMUS140 | 7,02 / kmod | 2,6 / kmod |
| MAXIMUS160 | 7,02 / kmod | 2,6 / kmod |
Drehfedersteifigkeit
| Artikel | Drehfedersteifigkeit Cφ *)bei einer abwärts gerichteten Belastung [kNm] | ||||
|---|---|---|---|---|---|
| Lasteinwirkungsdauer | |||||
| ständig | lang | mittel | kurz | sehr kurz | |
| MAXIMUS120 | 43 | 43 | 48 | 67 | 85 |
| MAXIMUS140 | 43 | 43 | 48 | 67 | 85 |
| MAXIMUS160 | 43 | 43 | 48 | 67 | 85 |
*) Cφ [kNm] muss auf 60%der Werte reduziert werden, wenn die Holzfeuchtigkeit von 18% für längere Zeit überschritten wird.
Installation
Installation
Befestigung
- Balken mit CSA-Schrauben am MAXIMUS befestigen.
- Stütze bohren.
- Steckbolzen einführen.
- MAXIMUS einhängen und mit 2 Splinten sichern.
- Fertig und sofort belastbar.
Technische Hinweise
Autres
maximus-beispiel.pdf
(81.5 KB)
Eignungsnachweise
Leistungserklärung (DoP)
de-dop-e06-0106-11-s-2.pdf
(344.02 KB)
de-dop-e06-0106-10.pdf
(146.77 KB)
de-dop-e06-0106-issue-9.pdf
(99.82 KB)
de-dop-e06-0106-issue-8.pdf
(99.67 KB)
de-dop-e06-0106-issue-7.pdf
(101.07 KB)
de-dop-e06-0106-issue-6-2.pdf
(91.84 KB)
de-dop-e06-0106-issue-5-2.pdf
(28.14 KB)
de-dop-e06-0106-issue-4-pdf.pdf
(28.12 KB)
457cd28856d95296ffb40960ef004902984bfcbc.pdf
(28.09 KB)
3959df00f00efefe8037e9bdb981aea11ad3804c.pdf
(35.16 KB)
1f06b7d1f2a1bfda4448d725308b1f9cddef343a.pdf
(37.02 KB)
Technische Bewertung (ETA)
eta-06-0106-2026-03-09.pdf
(12.89 MB)
eta-06-0106-2021-04-09.pdf
(11.66 MB)
eta-06-0106-2020-01-29-cor1.pdf
(13.43 MB)
eta-06-0106.pdf
(13.43 MB)
eta-060106-sst-ab-r10-2018-issued.pdf
(10.1 MB)
eta-060106-sst-ab-v8-2016.pdf
(9.59 MB)