DLV

Dachlattenverbinder

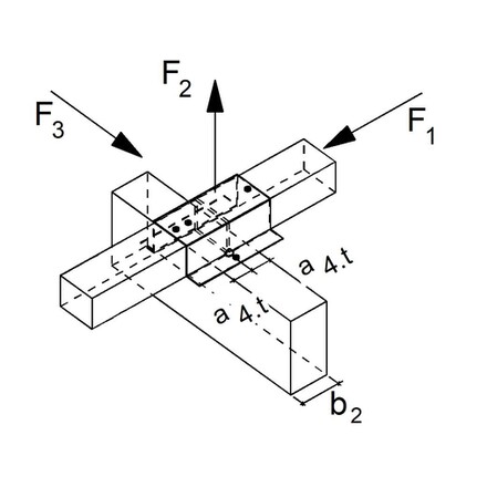
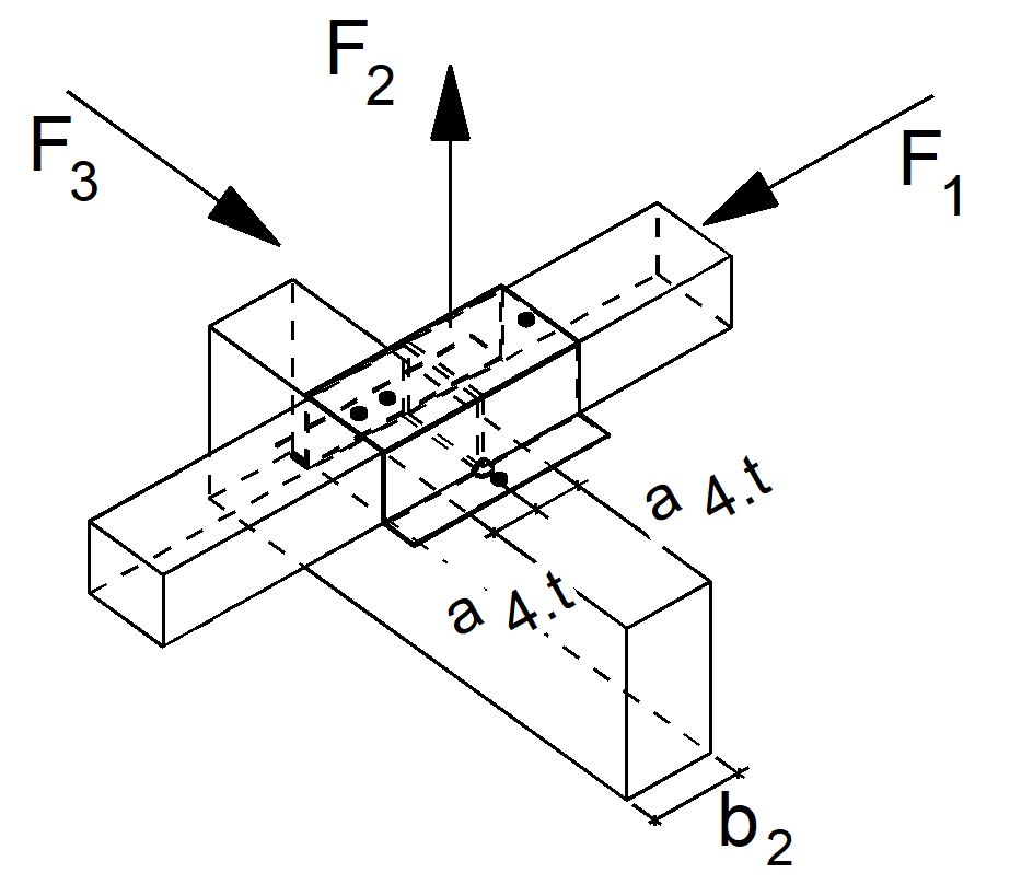
Mit den DLV Dachlattenverbindern können Dachlattenstöße auf Tragkonstruktionen, unter Einhaltung der Mindestrandabstände für die Nägel, normgemäß hergestellt und auf dem Sparren verankert werden. Anwendung finden sie auf schmalen Sparren, wie z.B. bei Nagelplattenbindern. Die DLV Dachlattenverbinder sind in alle Achsrichtungen belastbar.


 

CE Kennzeichnung
ETA
Nutzungsklasse 2
Galvanisch verzinkter Stahl Z275
EPD

Produkt-Details

Bilder

Eigenschaften

Material

Die DLV Dachlattenverbinder werden aus 1,0 mm dickem, feuerverzinktem Stahlblech hergestellt.

Stahlqualität:

S 250 GD +Z 275 gemäß DIN EN 10346

Korrosionsschutz:

275 g/m2 beidseitig - entsprechend einer Zinkschichtdicke von ca. 20 μm.

Vorteile

fachgerechter Anschluss von Dachlattenstößen

Anwendung

Anwendbare Materialien

Auflager: 

  • Holz, Holzwerkstoffe

Aufzulagerndes Bauteil:

  • Holz, Holzwerkstoffe

Anwendungsbereich

  • Der DLV Dachlattenverbinder ermöglicht den fachgerechten Anschluss von Dachlattenstößen, unter Einhaltung der erforderlichen Mindestrandabstände für Nägel/Schrauben in den Latten zum Hirnholz.
  • Die Mindestbreiten der Sparren, bzw. Konterlatten, sind abhängig vom Durchmesser der eingesetzten Verbindungsmittel und richten sich nach dem Mindestrandabstand a4,t für Nägel/Schrauben gemäß EC5+NA Tabelle 8.2.
  • Die Dachlattenstöße sind gemäß den Angaben des Tragwerksplaners versetzt anzuordnen.

 

Technische Daten

Abmessungen

Abmessungen und charakteristische Werte

Artikel Abmessungen (mm) [mm] Löcher VE   Stück Gewicht [kg]
A B C D Ø [mm] Anzahl
DLV50/30513013022.542 + 2500.085
DLV60/406240140254 ; 52 + 2500.22

Tragfähigkeiten

Artikel Charakter. Tragfähigkeit - Max. [kN]
CNA4,0x40 Nägel 3,1 x 80 Nägel 3,4 x 90
F1 F2 F3 F1 F2 F3 F1 F2 F3
DLV50/30---1.13Min (1.18 ; 0.79/kmod)0,34/kmod + 0,761.130,79 / kmod0,34/kmod + 0,88
DLV60/401.27Min (1.47 ; 1.48/kmod)0.31/kmod+1,831.271.180.31/kmod+0,691.27Min (1.47 ; 1.48/kmod)0.31/kmod+0,88

Für DLV50/30 gilt:
Falls eine Längskraft in F1 Richtung in der Dachlatte aufgenommen werden muss, werden die Latten mit einer Verbinderschraube CSA4,0x30 am DLV angeschlossen.

Für DLV60/40 gilt:
In der Dachlatte sind stets 2 CNA4,0x40 Kammnägel oder CSA5,0x35 Schrauben einzubauen.

----------------------------------------------------------------------------------------------------------------------------------------------------------------------------------

Bei Verwendung von CNA Kammnägeln oder CSA Schrauben gilt:

 

Bei Verwendung von Nägeln 3,1x80 oder 3,4x90 in dem Sparren gilt:

 

Sämtliche Belastungen sind in die o.g. Kraftkomponenten zu zerlegen, in der Kraftrichtung F2 sind nur abhebenden Werte zu berücksichtigen.

Installation

Installation

Befestigung

  • Der Anschluss an die Dachlatte erfolgt mit CNA Kammnägeln oder CSA Schrauben
  • An die Sparren oder Konterlattung mit CNA Kammnägeln, CSA Schrauben oder mit Nägeln 3,1x80 bzw. 3,4x90.
  • Wird der DLV auf einer Konterlatte angebracht, so ist sicherzustellen, dass die Konterlatte auf dem Sparren für die auftretenden Kräfte ausreichend befestigt ist.

 

Eignungsnachweise

Leistungserklärung (DoP)

Technische Bewertung (ETA)

ZIP-Pakete

Buy from Distributor

No items available.

Contact

Simpson Strong-Tie Deutschland

Simpson Strong-Tie GmbH

Hubert-Vergölst-Straße 6-14
61231 Bad Nauheim
Deutschland